一、电液动鄂式闸门工作原理:
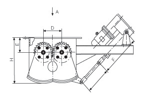
电液动鄂式闸门配用不一样的传动设备能满足不一样的工况需要。电动式闸门选用带有超载保护设备的电动推杆,可避免烧坏电机,可以远距离操作或程序控制,往复行程可以精确调度方位自锁。电液动式闸门选用电液推杆,全液压传动,推拉力均可结束无级调速。气动式闸门选用气动推杆,通过配件组合可以远距离操作或现场控制。SEF为手动,DEF为电动,Y为电液动,QEF为气动。腭式阀由本体、扇形闸板、轴、齿轮、密封件、执行机构等部件构成。手动或执行机构推动摇杆,使齿轮股动扇形闸板沿轴心旋转,使两个扇形闸板向两端打开,物料随即下落,待接料设备满载后,再由执行机构股动摇杆,,使扇形闸板复位,关闭堵截下落的物料。
二、鄂式闸门特点:
结构简单、使用方便、可实现远距离控制。鄂式闸门是用来对比重小于2.5t/m3的物料进行卸料的装置,腭式阀的型号分为标准与非标两种,其使用效果在相应的工况下是一样的,只是在非标的腭式阀中,因其环境需要,对腭式阀进行过一些改进设计与制作。
三、标准腭式阀的参数范围为:
公称通径:DN400×400-1000×1000mm
公称压力:PN0.1MPa
适用温度:常温
适用介质:≤150mm的各种物料
驱动方式:电动、电液动 阀门
四、规格参数:



